给力!!今朝装饰喜获一种中央空调冷凝水防异味处理结构专利!
中央空调长时间使用后,室内有时会有类似发霉的味道,这是由于空调内机在制冷的时候产生了冷凝水。
冷凝水在流经接水槽的过程中,粘附在蒸发器上的灰尘也会随着冷凝水流入接水槽。久而久之便会在接水槽中形成一定数量的脏物沉淀,发酵后就会产生让人难闻的气体。
今朝装饰通过多年的家装经验发现,这种情况并不是个例,而是非常普遍的,因此发明了一种中央空调冷凝水防异味处理结构专利。
▲一种中央空调冷凝水防异味处理结构
专利证书和专利号
专利号:ZL202023126299.5
登录国家知识产权局政府网站http://www.sipo.gov.cn/ 即可查询检索到本专利相关内容。
本实用新型的有益效果是:该中央空调冷凝水防异味处理结构可以方便快速地将中央空调产生的冷凝水排走,从而避免了空调冷凝水长期积存而产生的难闻气味,保证了室内的空气质量。
具体实施方式
▲图1中央空调冷凝水防异味处理结构
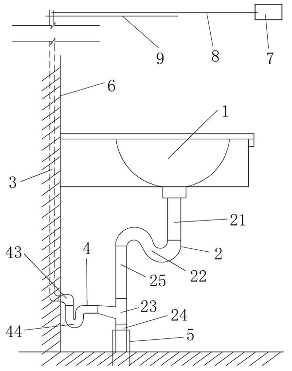
一种中央空调冷凝水防异味处理结构包括:洗手盆1;第一排水管组件2;墙面排水管3;第二排水管组件4;地面排水接头5;墙壁6;空调内机7;冷凝水排水管8;吊顶9。
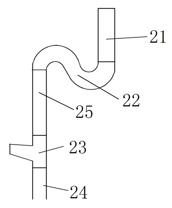
其中,第一排水管组件2包括:上连接管21;第一存水弯22;三通23;下连接管24;中间连接管25。第二排水管组件4包括:转角弯头41;连接短管42;变径弯头43;第二存水弯44。
第一排水管组件2和第二排水管组件4均位于洗手盆1的下方,第一存水弯22呈躺倒的S形结构,如图1所示。
中央空调冷凝水防异味处理结构位于卫生间内,该卫生间内含有吊顶9,冷凝水排水管8位于吊顶9内,冷凝水排水管8呈水平状态。
洗手盆1内的水通过第一排水管组件2进入地面排水接头5后排出。
空调内机7产生的冷凝水可以依次通过冷凝水排水管8、墙面排水管3、第二排水管组件4和三通23进入地面排水接头5后排出。
施工时,可以在墙壁6的表面开槽,然后将墙面排水管3埋设于墙壁6表面的开槽内,然后用水泥封闭,墙面排水管3可以选择现有的PP、PE或PVC管,墙面排水管3的内径可以为20mm。
第一排水管组件2的示意图
▲第一排水管组件2的中间连接管25上端与第一存水弯22连接,下端与三通23连接;下连接管24的上端与三通23连接,下端插接于地面排水接头5内。
第二排水管组件4的示意图
▲第二存水弯44的出口端与三通23连通。第二存水弯44呈躺倒的P形结构。
第二存水弯44的封堵可以保证下水道的味道不会通过管道反味,不会产生异味回流,有效的保证了室内的空气质量。
三通23的示意图
三通23含有三个接口。第一接口231朝上,第三接口233朝左或朝右,第二接口232朝下。
三通23可以为Y型结构或T型结构,第一接口231和第三接口233均高于第二接口232。第一接口231和第三接口233均为三通的入口,第二接口为三通的出口。
该中央空调冷凝水防异味处理结构可以方便快速地将中央空调产生的冷凝水排走,从而避免了空调冷凝水长期积存而产生的难闻气味。
网址:给力!!今朝装饰喜获一种中央空调冷凝水防异味处理结构专利! https://www.jiaju82.com/news-view-id-769260.html

