蒙娜丽莎:取得“渗透陶瓷粉料及其制备方法和应用”等7项发明专利证书
发布时间:2021-09-07 14:25
新浪家居讯 9月7日,蒙娜丽莎(002918)发布关于取得发明专利证书的公告。
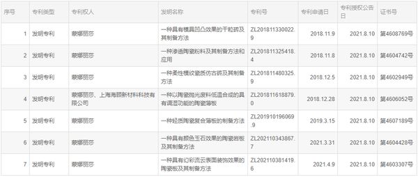
公告显示,蒙娜丽莎集团股份有限公司于近日取得国家知识产权局颁发的发明专利证书7项,发明专利的专利权期限自申请日起二十年。具体情况如下:

网址:蒙娜丽莎:取得“渗透陶瓷粉料及其制备方法和应用”等7项发明专利证书 https://www.jiaju82.com/news-view-id-770248.html

